Samsungov sat šalje sliku gestama na TV
- Objavljeno u Novosti

Patent koji je Samsung predao američkom patentnm uredu (USPTO) odnosi se na pametni sat s okruglim ekranom koji nas malo podsjeća na Motorolin Moto 360.
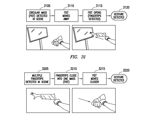
No osim okruglog ekrana, ovaj sat posjeduje još jednu zanimljivu značajku, upravljanje gestama, za što koristi ugrađenu kameru koja prepoznaje geste vaših ruku, zapešća i prstiju. Osim što se taj sustav može koristiti za standardno upravljanje aplikacijama sata pomoću gesti, Samsung je zamislio da pomoću njega možete jednostavno prebacivati sliku na veće ekrane poput pametnih televizora.
Na primjer, kada poželite sliku iz aplikacije kalendara pokazati širem auditoriju, rukom ćete napraviti određenu gestu i potom prstom uprijeti na zaslon Smart TV-a, nakon čega će se ona odmah pojaviti na njemu.
U svakom slučaju simpatična značajka, no do sada još nismo čuli nikakvu glasinu da Samsung za skoru budućnost doista priprema okrugli pametni sat, ali to ne znači da se gestualno upravljanje ovog tipa neće naći u nekoj novoj inačici Gear sata.
IZVOR: USPTO