Hoće li idući iPhone biti savitljiv i preklopiv
- Objavljeno u Novosti

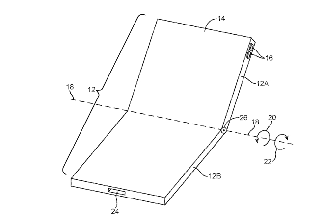
Appleu je nedavno prihvaćen patent za preklopni telefon sa savitljivim zaslonom, što nam daje novog prostora za spekuliranje o idućem iPhoneu koji će stići na tržište upravo s tim radikalnim dizajnom.
Patent opisuje tehnologiju koja omogućuje rad uređaja u različitim modovima, ovisno o poziciji zaslona. U daljem opisu navodi se da savitljivi zasloni mogu omogućiti promjenu konfiguracije ovisno o tome kako ih korisnik presavija, a u tome će glavnu ulogu imati specijalne šarke koje predstavljaju osnovnu komponentu čitave strukture, dok se manje opisuje sama tehnologija zaslona.
Jasno je da put od patenta do gotovog proizvoda obično traje dugo i da mnogi patenti nikada ne budu realizirani, ali nekako vjerujemo da Apple želi imati spreman odgovor ako sličan uređaj iduće godine (po mnogim glasinama) lansira Samsung koji je već prikazao nekoliko prototipa na tehnološkim sajmovima. Kako bi se mogao zvati? Što kažete na ime iPhone XF u kojem se F odnosi na Flex? Nije originalno ali je u duhu Cupertina.